产品
您当前的位置 : 首 页 >> 聚丙烯离子交换柱 >>

联系我们Contact Us

必赢电子娱乐 
地址:太仓市双凤镇庆丰村
传真:0512-53430311 
手机:18962410987 13732613168
网址:
邮箱:[email protected]
联系人:杨先生

聚丙烯离子交换柱

  • 所属分类:聚丙烯离子交换柱

  • 点击次数:
  • 发布日期:2022/11/21 09:06:06
  • 更多
  • 在线询价
详细介绍

聚丙烯计量罐


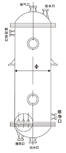
离子交换柱主要是利用离子交换树脂中的离子同原水(液体)中的某些离子进行交换而将其除去,使水(液体)得到净化的方法。
他已广泛应用于化工、电子、医药、纺织、电镀行业的制取纯水、硬水软化、药物和食品的脱色和提取、重要化工原料的回收以及污水处理等,聚丙烯离子交换器(柱)技术参数及外形尺寸:
设备特性:一、工作压力:≤2MPa
     二、工作温度:-12~120℃
设备外形尺寸

名称
阴、阳、钠单床
体内再生混床
规格
ф250
ф315
ф400
ф500
ф630
ф800
ф250
ф315
ф400
ф500
ф630
ф480
设计
流量
m3/h
1
1.5
2.5
4
6
8
2
3
4.5
7
1.2
8
注体高
2500
2500
2500
2500
2500
2500
2500
2500
2500
2500
2500
2500
总高
(H)
2830
2960
2930
2990
3080
3200
2830
2860
2930
2990
3080
3200
进水口
(Dg)
20
20
25
25
32
65
25
25
32
40
50
65
出水口
(Dg)
20
20
25
25
32
65
25
25
32
40
50
65
排气品
(Dg)
20
20
20
20
25
40
25
25
25
32
40
40
清洗口
(Dg)
25
25
32
32
40
50
32
32
40
40
50
50
树脂进出口
(Dg)
排净口
32
32
32
40
40
50
32
32
32
40
50
50


相关标签:聚丙烯储罐

上一篇:没有了
下一篇:没有了

关于我们

  • 关于保诺
  • 联系我们
  • 设备展示
  • 企业资质
  • 产品中心

  • 聚丙烯储罐
  • PP储罐
  • 聚丙烯计量罐
  • PP真空储罐
  • 新闻资讯

  • pp储罐新闻
  • 行业新闻
  • 联系我们

    图层 42.png   地址:太仓市双凤镇庆丰村

    图层 43.png   电话:18962410987 / 13732613168

    图层 44.png   传真:0512-53430311 

    图层 45.png   邮箱:[email protected]

    必赢电子娱乐

    微信 扫一扫

    Copyright © 2022   必赢电子娱乐     苏ICP备14019953号   技术支持:祥云平台

  • 网站首页
  • 咨询电话
  • 返回顶部
  • 在线客服
    二维码

    扫描二维码

    分享